Kun saat kustannustehokkaan halkaisun, sen mukana saattaa olla laatusertifikaatti. Tämä on pohjimmiltaan paperityö, jossa sanotaan, että halkaistu on tarkastettu ja täyttää tietyt standardit.
Sertifikaatissa luetellaan tiedot haljasneulasta - kuka sen on tehnyt, mistä se on tehty, sen koko ja mistä erästä se on peräisin. Se osoittaa, että halkaisutappi on testattu muun muassa lujuuden, koon tarkkuuden ja sen taipuessa kunnolla rikkoutumatta. He myös tarkistavat, että pintakäsittely, kuten sinkitys, on tehty oikein.
Testit tehneet tarkastajat allekirjoittavat ja leimaavat todistuksen. Nämä paperityöt ovat hyödyllisiä yrityksille, joiden on todistettava, että nastansa täyttää tietyt vaatimukset, erityisesti sellaisilla aloilla, kuten autoteollisuus tai valmistus, joilla laadun seuranta on tärkeää. Pohjimmiltaan se on vakuutus, että jakotappi on tarkastettu kunnolla ennen sen vastaanottamista.
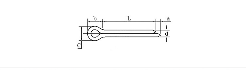
| d | 0.6 | 0.8 | 1 | 1.2 | 1.5 | 2 | 2.5 | 3.2 | 4 | 5 | 6.3 | 8 | 10 | 13 | 16 | 20 | |
| d | max | 0.5 | 0.7 | 0.9 | 1 | 1.4 | 1.8 | 2.3 | 2.9 | 3.7 | 4.6 | 5.9 | 7.5 | 9.5 | 12.4 | 15.4 | 19.3 |
| min | 0.4 | 0.6 | 0.8 | 0.9 | 1.3 | 1.7 | 2.1 | 2.7 | 3.5 | 4.4 | 5.7 | 7.3 | 9.3 | 12.1 | 15.1 | 19 | |
| a | max | 1.6 | 1.6 | 1.6 | 2.5 | 2.5 | 2.5 | 2.5 | 3.2 | 4 | 4 | 4 | 4 | 6.3 | 6.3 | 6.3 | 6.3 |
| min | 0.8 | 0.8 | 0.8 | 1.25 | 1.25 | 1.25 | 1.25 | 1.6 | 2 | 2 | 2 | 2 | 3.15 | 3.15 | 3.15 | 3.15 | |
| b≈ | 2 | 2.4 | 3 | 3 | 3.2 | 4 | 5 | 6.4 | 8 | 10 | 12.6 | 16 | 20 | 26 | 32 | 40 | |
| C | max | 1 | 1.4 | 1.8 | 2 | 2.8 | 3.6 | 4.6 | 5.8 | 7.4 | 9.2 | 11.8 | 15 | 19 | 24.8 | 30.8 | 38.5 |
| min | 0.9 | 1.2 | 1.6 | 1.7 | 2.4 | 3.2 | 4 | 5.1 | 6.5 | 8 | 10.3 | 13.1 | 16.6 | 21.7 | 27 | 33.8 | |
Kustannustehokasta jakotappia käytetään pääasiassa estämään osien irtoaminen koneista, autoista ja laitteista. Sen tehtävänä on estää pulttien, akselien tai muiden tappien liukuminen ulos tärinästä. Esimerkiksi autossa pyörän navoissa tai jousituksessa on usein sokka, joka auttaa pitämään asiat turvassa.
Tehdaskoneissa saranoissa tai liikkuvissa liitoksissa voidaan käyttää saranoita, jotta kaikki pysyy kohdakkain. Veneissä se voi pitää laitteiston kuten kiinnikkeet paikoillaan. Jokapäiväisessä käytössä voit käyttää halkaisua ruohonleikkurin terän tai polkupyörän polkimen kiinnittämiseen. Työnnät vain tappi reiän läpi ja taivutat kaksi piikkiä erilleen – se on yksinkertainen tapa muodostaa liitäntä, joka pysyy tukevasti paikallaan, mutta voidaan silti irrottaa tarvittaessa.
Kysymys: Voitko toimittaa sertifikaatin kustannustehokkaalle nastallesi?
Vastaus: Kyllä, voimme antaa sinulle merkin materiaalitodistuksen. Se osoittaa, että täytämme standardeja, kuten ISO 1234. Tämä varmistaa, että saamasi nastat tarkistetaan mekaanisten ja mittojen kanssa, joista sovimme.
