Turvallinen kiinnitys Kuusikulmainen pulttipakkaus on suunniteltu pitämään ne järjestyksessä ja estämään vaurioita. Näissä pakkauslaatikoissa on pehmeä vuori, jossa on aukot. Pultit istuvat niissä vastakkain, joten jokainen kuusiopultti pysyy paikallaan. Tämä tekee niistä nopeat poimia ja sijoittaa ja estää naarmut kuljetuksen aikana. Irtotavarakuljetuksessa kuusikulmaiset pultit pakataan usein 500 kappaletta per pussi. Nämä pussit laitetaan sitten sisälaatikoihin ja vahvistettuihin puukoteloihin, jotta kuorma pysyy vakaana. Kriittisillä teollisuudenaloilla korkealaatuiset pakkausvaihtoehdot voivat täyttää tiukat sotilasstandardit. Tämä voi sisältää suljetut, rasvan- ja vedenpitävät pussit, jotka suojaavat pultteja korroosiolta varastoinnin ja kuljetuksen aikana.
Kuusiokolopultin laatu osoittaa sen lujuuden. Nämä luokkamerkinnät ovat pulttien päissä tunnistamisen helpottamiseksi. Yleisiä ISO-luokkia ovat 4.6, 8.8, 10.9 ja 12.9. Grade 8.8 on yleinen keskivahva pultti, kun taas 10.9 ja 12.9 ovat erittäin lujia ja niitä käytetään vaativissa kohteissa, kuten autoissa ja rakentamisessa. ASTM-standardit, kuten A307 ja A325, määrittävät myös pulttien suorituskyvyn. Oikean laadukkaan kuusikulmaisen pultin valitseminen on turvallisuuden avain, sillä se varmistaa, että pultti kestää kuorman epäonnistumatta.
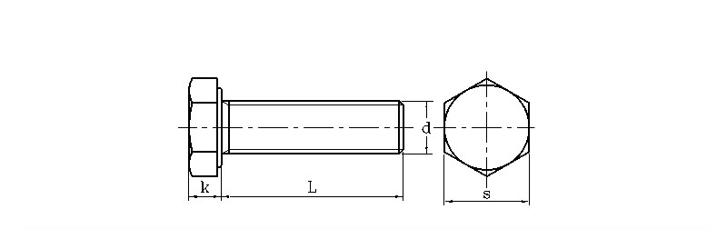
| mm | |||||||
| d | S | k | d | Kierre | |||
| max | min | max | min | max | min | ||
| M3 | 5.32 | 5.5 | 1.87 | 2.12 | 2.87 | 2.98 | 0.5 |
| M4 | 6.78 | 7 | 2.67 | 2.92 | 3.83 | 3.98 | 0.7 |
| M5 | 7.78 | 8 | 3.35 | 3.65 | 4.82 | 4.97 | 0.8 |
| M6 | 9.78 | 10 | 3.85 | 4.14 | 5.79 | 5.97 | 1 |
| M8 | 12.73 | 13 | 5.15 | 5.45 | 7.76 | 7.97 | 1.25 |
| M10 | 15.73 | 16 | 6.22 | 6.58 | 9.73 | 9.96 | 1.5 |
| M12 | 17.73 | 18 | 7.32 | 7.68 | 11.7 | 11.96 | 1.75 |
| M14 | 20.67 | 21 | 8.62 | 8.98 | 13.68 | 13.96 | 2 |
| M16 | 23.67 | 24 | 9.82 | 10.18 | 15.68 | 15.96 | 2 |
| M18 | 26.67 | 27 | 11.28 | 11.7 | 17.62 | 17.95 | 2.5 |
| M20 | 29.67 | 30 | 12.28 | 12.71 | 19.62 | 19.95 | 2.5 |
Voitko selittää Secure Fastening kuusikulmaisten pulttien materiaalirakenteen ja korroosiosuojausvaihtoehdot?
Valmistamme kuusiopulttejamme erilaisista materiaaleista, kuten vähähiilisestä teräksestä, vahvemmasta seosteräksestä ja ruostumattomasta teräksestä (A2-304 ja A4-316). Ruostesuojaukseen tarjoamme pinnoitteita, kuten sähkösinkitty sinkki, kuumasinkitys ja Dacromet. Oikean pinnoitteen valinnalla on merkitystä pultin käyttöiän kannalta, erityisesti vaikeissa paikoissa, kuten rakennustyömailla tai meren lähellä.
